新闻快递>>
【现场】国内油价迎年内最大降幅    【现场】“打扮打扮”让百年老树一直美下去    【现场】喜大普奔!红桥通车啦!    【现场】满地金黄戏游人    【现场】寒冬里的温暖“阳光”    
当前位置: 首页 >> 新闻中心>>天水新闻>>要闻
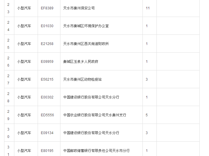
秦州城区交警大队道路交通违法行为曝光台(违法未处理车辆)
来源: 天天天水网    编辑: 朱君芳 2016-11-17 18:08:36 星期四     字体设置:

  根据《甘肃省公安厅关于及时处理道路交通违法行为的通告》,现将部分交通违法未处理车辆进行实名曝光。

 

上一篇甘肃省工业制造业领域专家服务企业活动在天水启动

我也来说两句 查看评论
会员登录名 密码 匿名发表
相关新闻
©Copyright 2015 天天天水网www.tsrb.com.cn版权所有,未经《天水日报》社书面授权请勿转载或建立镜像。
新闻热线:0938-8390229 技术故障:0938-8217313 谣言举报:0938-8390229 地址:天水市民主东路86号 邮箱:huaxunzaixian@163.com
互联网新闻信息服务许可证编号:甘新办 6201015 备案许可证编号:陇ICP备09002627号
技术维护与支持:天天天水网信息部

法律顾问:天水忠信律师事务所万有太、职素芬